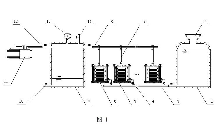
本发明涉及一种岩土样品进行注水饱和的装置。自注水式岩土样品饱和器,其特征在于它包括储水缸、进水总管、流量微调阀、饱和缸、出水支管、出水总管、溢流缸、真空泵;进水总管的一端与储水缸出水口相连通;每一饱和缸的底部设有饱和缸进水口,饱和缸进水口由流量微调阀与进水总管相连通;每一饱和缸的上端设有饱和缸出水口,饱和缸出水口由出水支管与出水总管相连通;出水总管的一端与溢流缸进水口相连通,出水总管的另一端为封闭端;出气口由抽真空管与真空泵的进气口相连。本发明可使岩土样品中的空气在饱和过程中始终与外界真空环境连通,有利于空气排出,样品饱和效果好,抽气饱和时间显著降低,不同批次样品的饱和工作可不间断连续进行,可以有效节约用水。

1-储水缸,2-开口,3-进水总管(塑料软管),4-流量微调阀,5-饱和缸,6-岩土样品,7-出水支管,8-出水总管,9-溢流缸,10-溢流缸排水口,11-真空泵,12-出气口,13-负压表,14-进气口

自注水式岩土样品饱和器原型照片